Новая разметка на дорогах: водители недовольны
Уже более месяца в городе на магистральных проспектах существуют выделенные сплошной линией и дорожными знаками маршрутные полосы для движения автобусов. Большинство водителей к ним уже привыкло и старается на них не заезжать и уж тем более не парковаться. Есть и нарушители. Каждый день сотрудники ГИБДД составляют на них по 20-30 административных протоколов. И ежедневно по десятку припаркованных на маршрутной полосе автомобилей эвакуируются на штрафстоянку. При этом у многих водителей есть немало претензий к нанесенной разметке.
По мнению ряда автомобилистов, маршрутная полоса создает аварийную ситуацию, т.к. перестроиться для поворота можно непосредствено перед самим поворотом - только там нанесена прерывистая линия, а не заблаговременно, что было бы безопаснее. Или, например, прерывистая линия на съездах на местные проезды нанесена так, что попасть в это "окно" можно, только повернув почти под прямым углом. "А мне вот интересно, зачем нарисовали выделенную полосу от проспекта Сююмбике до улицы 40 лет Победы по проспекту Хасана Туфана? Там из маршрутов только два раза в день заводские автобусы проезжают..." - спрашивает один водитель. "Получается, на всём протяжении проспектов нельзя остановиться и высадить пассажира из авто..." - возмущается другой. "Неужели и на проспекте Чулман, где всего две полосы для движения в одну сторону, после ремонта тоже нанесут выделенную полосу..." - интересуется третий. Все эти вопросы редакция "Челны ЛТД" задала местной госавтоинспекции.
- Во-первых, разметку наносит не Госавтоинспекция, а специализированная подрядная организация, - ответили в ГИБДД города Набережные Челны. - Существуют нормативы, которые должны соблюдаться. Конечно, в процессе эксплуатации какие-то минусы выявляются, и претензии водителей без внимания не остаются. Со временем все выявленные упущения будут исправляться.
Например, в процессе нанесения разметки было дано предписание сделать прерывистые линии перед остановочными карманами, чтобы в них могли заехать для высадки пассажиров вахтовые автобусы и легковые автомобили. Во многих городах не только Татарстана, но и близлежащих регионов уже имеются выделенные полосы для движения маршрутных транспортных средств. И везде они нормально приживаются. Например, в Ижевске на большинстве улиц две полосы, но никто не заезжает на полосу движения для автобусов, никто на ней не паркуется. И наши водители тоже постепенно к этому привыкнут.
- Водители интересуются, какова будет реакция сотрудников ГИБДД, когда они увидят на маршрутной полосе автомобиль с включенными аварийными огнями? Ведь всякие ситуации бывают. Возможно, случилась поломка...
- Если машина сломалась, то водитель должен предпринять все возможные меры, чтобы убрать автомобиль с проезжей части, чтобы не создавать помех для движения других транспортных средств и максимально обезопасить себя. Но на проезжей части помимо включенных аварийных огней, водитель обязан выставить и знак аварийной остановки. Это всем должны были объяснить еще в автошколе. И поверьте, наши инспекторы разберутся, действительно ли случилась поломка или какой-то хитроумный водитель заехал на маршрутную полосу, например, для высадки пассажиров и для прикрытия включил "аварийку".
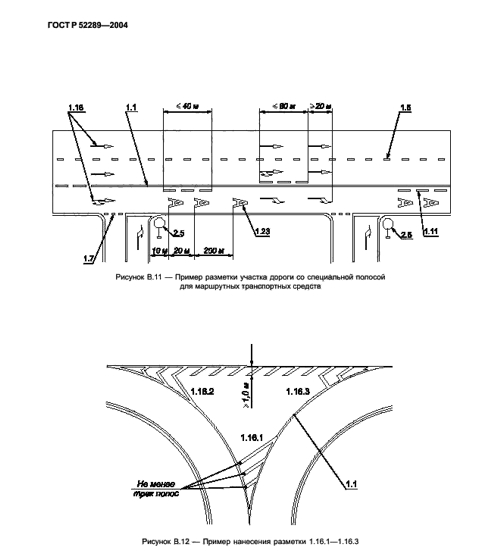
В подрядной организации "Челнытранссигнал" корреспонденту "Челны ЛТД" сообщили, что прерывистая линия при въездах на выделенную автобусную полосу перед поворотами и выездах с нее после выхода из поворота выполнена по ГОСТ: въезд - 80 метров, выезд - 40 м. И если кому-то кажется, что съезды и выезды длиной всего несколько метров, то виной тому скорость, которая скрадывает расстояние.
В свою очередь в ГИБДД заверяют, что не подлавливают специально тех, кто, не вписываясь в поворот, слегка заезжает на сплошную линию. А при выявлении "узких" мест, где действительно прерывистая линия слишком короткая, дают предписание исправить недостаток. Но если водитель, явно пренебрегая Правилами дорожного движения, едет по полосе для автобусов, то накладывается штраф в 1500 рублей.


#новостичелнылтд

